PPP項目社會資本方財務風險識別、評估及控制研究:以A鎮Q項
時間:2020-06-28 來源:51mbalunwen作者:vicky
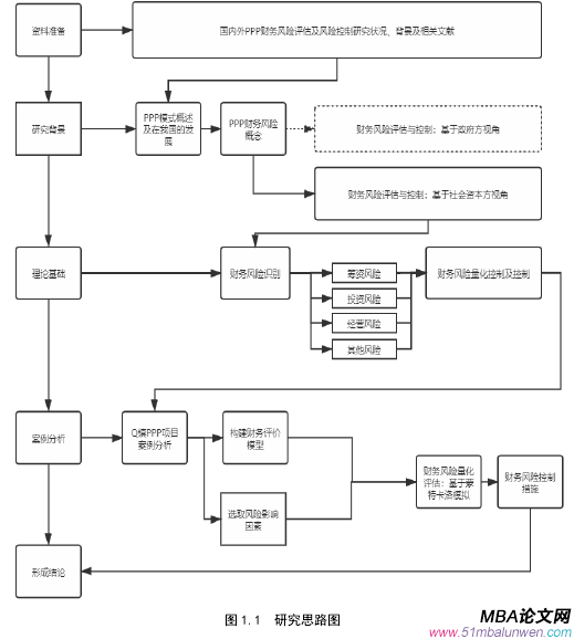
本文是一篇財會論文研究,本文基于社會資本方角度通過具體案例對 PPP 項目中的財務風險分析與控制進行了研究,本文的研究結論如下:政府公共部門和社會資本方作為參與 PPP 項目建設及運營的參與者,它們所面臨的財務風險各不相同,分析模式也彼此存在差異。政府方的財務風險關注財政承受能力風險與物有所值風險,社會資本方的財務風險需統籌全盤考慮,針對 PPP 項目的周期長的特點,將社會資本方從籌資、投資、經營及其他將有可能面臨的財務風險入手,逐一分析。其中籌資財務風險與融資方案和融資成本密切相關,投資風險與項目建成成本控制密切相關,經營風險與可用性服務費收入、運營收入、運營成本以及社會投資人自身財務狀況相關,其他財務風險與政治環境、經濟環境相關。需要分角度、分層次結合具體項目開展風險分析。
第一節 財務風險概述 ................................................. 18
一、財務風險概念 .......................................... 18
二、財務風險基本特征 ...................................... 18
第四章 PPP 模式財務風險評估與控制 ....................... 26
第一節 財務風險量化評估 ...................................... 26
一、構建 PPP 財務評價模型 .......................... 26
二、選取風險影響因素及評價指標 .......................... 28
第五章 A 鎮 Q 項目案例分析 ................................ 37
第一節 項目背景介紹 ........................... 37
一、項目內容、實施方式及產權歸屬 .......................... 37
二、項目融資結構及回報機制 ..................................... 38
第六章 結論與展望
第一節 研究結論
本文基于社會資本方角度通過具體案例對 PPP 項目中的財務風險分析與控制進行了研究,本文的研究結論如下:
政府公共部門和社會資本方作為參與 PPP 項目建設及運營的參與者,它們所面臨的財務風險各不相同,分析模式也彼此存在差異。政府方的財務風險關注財政承受能力風險與物有所值風險,社會資本方的財務風險需統籌全盤考慮,針對 PPP 項目的周期長的特點,將社會資本方從籌資、投資、經營及其他將有可能面臨的財務風險入手,逐一分析。其中籌資財務風險與融資方案和融資成本密切相關,投資風險與項目建成成本控制密切相關,經營風險與可用性服務費收入、運營收入、運營成本以及社會投資人自身財務狀況相關,其他財務風險與政治環境、經濟環境相關。需要分角度、分層次結合具體項目開展風險分析。
構建財務評價模型是社會資本方開展財務風險分析的基礎。社會資本方構建的財務評價模型必須細化精準,構建模型時要遵循謹慎性原則,對某些參數或計算方法有幾種不同的選擇時,應當優先考慮最不利與社會資本方的選擇。構建財務評價模型時涉及的基礎數據分別投資、籌資、收入、成本、稅金和利潤分配 6類,其組成一個完整的數據系統。構建財務評價模型時必須確保數據之間的勾稽關聯正確,為后期開展蒙特卡洛模擬提供條件。
借助計算機技術,在構建出合理有效的財務評價模型后,可以通過軟件實現蒙特卡洛模擬。通過海量的模擬分析計算結果,有效的評價財務風險,進而確定風險控制措施,便于社會資本方通過談判、分包等方式轉移或降低風險。
參考文獻(略)
第一章 緒論
第一節 研究背景及意義
一、研究背景
當今經濟社會,在國際經濟增長降速的影響下,我國的經濟增長也面臨著下行壓力。政府執行積極的財政政策,進一步加大力度實施減稅降費,雖然在一定程度上緩解了我國經濟下行的壓力,但是地方政府財政收支不平衡的問題愈加凸顯。為了滿足日益增長的大眾人民生活需求,大眾開始不斷追求更高、更高的生活水平,由于地方政府財力不足、地方性資源有限、投資條件受限制,而無法達到大眾預期的生活設施建設及服務時,政府和社會資本合作(Public-Private Partnership,PPP)項目通過引入社會資本來參與公共項目建設,為當地政府公共設施建設注入新的能量。這一方面緩解了地方政府財政支出壓力,另一方面通過PPP 項目的開展過程中,更好的借鑒企業及社會資本方的管理經驗,激活國有資本,變相將地方財政資金使用效率最優最大化,與此同時也迎合了社會民眾對公共基礎設施和服務的需求。PPP 模式下,政府與社會資本方在參與項目建設中共同受益、風險共擔、實現共贏,同時滿足了社會需求。因此,PPP 模式在近幾年受到了我國地方政府的青睞。
第一節 研究背景及意義
一、研究背景
當今經濟社會,在國際經濟增長降速的影響下,我國的經濟增長也面臨著下行壓力。政府執行積極的財政政策,進一步加大力度實施減稅降費,雖然在一定程度上緩解了我國經濟下行的壓力,但是地方政府財政收支不平衡的問題愈加凸顯。為了滿足日益增長的大眾人民生活需求,大眾開始不斷追求更高、更高的生活水平,由于地方政府財力不足、地方性資源有限、投資條件受限制,而無法達到大眾預期的生活設施建設及服務時,政府和社會資本合作(Public-Private Partnership,PPP)項目通過引入社會資本來參與公共項目建設,為當地政府公共設施建設注入新的能量。這一方面緩解了地方政府財政支出壓力,另一方面通過PPP 項目的開展過程中,更好的借鑒企業及社會資本方的管理經驗,激活國有資本,變相將地方財政資金使用效率最優最大化,與此同時也迎合了社會民眾對公共基礎設施和服務的需求。PPP 模式下,政府與社會資本方在參與項目建設中共同受益、風險共擔、實現共贏,同時滿足了社會需求。因此,PPP 模式在近幾年受到了我國地方政府的青睞。
2019 年,我國財政部發布信息顯示,國內目前存量及新增 PPP 項目進入高峰期。政府付費及可行性缺口補助類 PPP 項目占總額的 72.39%,使用者付費項目下降到三種回報機制的 27.61%,這表明了國內目前 PPP 項目屬性主要以公益性和準經營性為主。民營企業參與方面,目前國內共有 4089 個落地項目,其中參與項目建設及運營的社會資本合計 6753 家,而民營企業占 35.3%;這些項目里,有民間資本背景的項目 1711 個,其投資額為 2.1 萬億元,分別占 4089 個落地項目的 44.8%和 34.0%。①由此可見,我國政府積極整合資源,并逐步走向社會資本多元化,以鼓勵更多社會資本投入 PPP 項目建設與運營。雖然 PPP 模式在我國公共設施基礎建設項目中持續增加,但我國 PPP 模式相關理論及實踐研究上依然處于探究和摸索的階段。在 PPP 項目中,社會資本方需要對項目的投資、建設、運營乃至項目整個生命周期的各環節進行風險防控,同時,借鑒與參考相關項目的經驗。隨著經濟全球化進程的推進,貨幣與金融市場不穩定、中美貿易摩擦,上述因素都可能加劇企業面臨的風險。另外,PPP 模式下,政府購買社會服務,其作為買方,對項目具有監管甚至支配的職能,因而容易產生風險分擔不合理、績效考核機制不健全、不完善等現象。故社會投資方在投資、建設、運營期間也會面臨著政策、法律、法規等風險帶來的考驗。因此,從社會投資方的角度出發,分析研究其對 PPP 項目的財務風險識別及控制意義重大。
第三章 PPP 模式社會資本方財務風險及其識別 ................................. 18........................
第二節 文獻綜述
PPP 的全稱是 Public-Private Partnership,又被人們稱為 PPP 模式,其中文翻譯為“政府和社會資本合作”。它可以被理解為政府公共部門與社會私人資本,通過合作并建立伙伴關系,來向社會提供公共服務、生產公共產品的一種新型合作方式[1]。PPP 模式屬于公共基礎設施建設及運營的項目運作模式之一,在 PPP模式下的項目中,政府鼓勵且支持社會資本,這包括私營企業、民營資本與政府建立伙伴關系,在合作的基礎上,共同參與公共基礎設施及公共服務的建設及運營。而 PPP 最早是以 PFI(私人主動融資)的形式運用于英國公共基礎設施建設中,該模式得以迅速發展是在歐美國家上世紀 90 年代,并漸漸得到各個國家的認可,以 PPP 來替代原有的名稱,并沿用至今。
第二節 文獻綜述
PPP 的全稱是 Public-Private Partnership,又被人們稱為 PPP 模式,其中文翻譯為“政府和社會資本合作”。它可以被理解為政府公共部門與社會私人資本,通過合作并建立伙伴關系,來向社會提供公共服務、生產公共產品的一種新型合作方式[1]。PPP 模式屬于公共基礎設施建設及運營的項目運作模式之一,在 PPP模式下的項目中,政府鼓勵且支持社會資本,這包括私營企業、民營資本與政府建立伙伴關系,在合作的基礎上,共同參與公共基礎設施及公共服務的建設及運營。而 PPP 最早是以 PFI(私人主動融資)的形式運用于英國公共基礎設施建設中,該模式得以迅速發展是在歐美國家上世紀 90 年代,并漸漸得到各個國家的認可,以 PPP 來替代原有的名稱,并沿用至今。
一、國外相關研究動態
(一)理論研究方面
PPP 模式在國外興起的時間較早,該模式在國外的研究最初是從其概念入手展開。同時,PPP 模式的概念及其特征也是初期研究的重點之一。Darrin 和 Mervyn (2002)共同提出 PPP 模式的本質其實是一種相互合作、交互共贏的模式,它的理念是“雙贏”或者“多贏”,在非贏利性組織(如政府公共部門)和贏利性組織(如企業等社會資本)之間建立相互合作模式[2]。
PPP 模式在國外興起的時間較早,該模式在國外的研究最初是從其概念入手展開。同時,PPP 模式的概念及其特征也是初期研究的重點之一。Darrin 和 Mervyn (2002)共同提出 PPP 模式的本質其實是一種相互合作、交互共贏的模式,它的理念是“雙贏”或者“多贏”,在非贏利性組織(如政府公共部門)和贏利性組織(如企業等社會資本)之間建立相互合作模式[2]。
Broadbent 和 Laughin(2003)提出新公共管理理論涵蓋了 PPP 模式,它是對未來公共產品和服務供給的一種創新方式[3]。
NCPPP(美國國家 PPP 委員會)則認為 PPP 模式是國家、州以及地方等政府公共部門或組織同私人部門建立的一種合約合作關系。以此類合作為基礎,使公、私雙方間的技術、設備、資產、服務等在項目建設或運營過程中達成共享。除此之外,在合作雙期間,項目參與的雙方風險共擔、利益共享[4]。

..............................
NCPPP(美國國家 PPP 委員會)則認為 PPP 模式是國家、州以及地方等政府公共部門或組織同私人部門建立的一種合約合作關系。以此類合作為基礎,使公、私雙方間的技術、設備、資產、服務等在項目建設或運營過程中達成共享。除此之外,在合作雙期間,項目參與的雙方風險共擔、利益共享[4]。

..............................
第二章 PPP 模式概述及在我國的發展歷程
第一節 PPP 模式的基本概念、特征及分類
一、PPP 概念
PPP 模式的全稱是 Public-Private Partnership。PPP 模式的概念及定義對于不同行業、不同地域來說是有比較明顯的差異的。綜合國內學者對 PPP 模式的研究總結來說,PPP 模式的概念普遍地認為是政府公共部門與社會資本投資人之間以契約為基礎,建立的一種長期合作的伙伴關系。而在我國國內,由于 PPP 模式的項目起步稍晚,根據《關于推廣運用政府和社會資本合作模式 有關問題的通知》(財金〔2014〕76 號)的相關表述,我國自己也對 PPP 模式進行了定義,稱其為政府和社會資本合作模式。政府部門與社會資本共同作為 PPP 項目的參與者,并長期保持一種合作關系。在此模式下,政府支持并鼓勵社會資本,如私營企業、民營資本積極參與項目的建設及運營,并與政府公共部門長期保持合作關系;在此合作關系下,社會資本參與方主要負責項目的前期設計、中期建設實施、后期運營及維護。而社會資本方與政府部門約定項目實現收益的方式最終來獲得投資收益,其主要方式為“使用者付費”、“政府付費”等。
第一節 PPP 模式的基本概念、特征及分類
一、PPP 概念
PPP 模式的全稱是 Public-Private Partnership。PPP 模式的概念及定義對于不同行業、不同地域來說是有比較明顯的差異的。綜合國內學者對 PPP 模式的研究總結來說,PPP 模式的概念普遍地認為是政府公共部門與社會資本投資人之間以契約為基礎,建立的一種長期合作的伙伴關系。而在我國國內,由于 PPP 模式的項目起步稍晚,根據《關于推廣運用政府和社會資本合作模式 有關問題的通知》(財金〔2014〕76 號)的相關表述,我國自己也對 PPP 模式進行了定義,稱其為政府和社會資本合作模式。政府部門與社會資本共同作為 PPP 項目的參與者,并長期保持一種合作關系。在此模式下,政府支持并鼓勵社會資本,如私營企業、民營資本積極參與項目的建設及運營,并與政府公共部門長期保持合作關系;在此合作關系下,社會資本參與方主要負責項目的前期設計、中期建設實施、后期運營及維護。而社會資本方與政府部門約定項目實現收益的方式最終來獲得投資收益,其主要方式為“使用者付費”、“政府付費”等。
二、PPP 模式的特征
PPP 模式具有三個顯著特征,分別為伙伴關系、利益共享、風險共擔等。相比起傳統模式下的項目,這些特征讓 PPP 項目更具有吸引力,更有競爭優勢。
(一)伙伴關系
該特征是 PPP 模式的一個非常典型特征,是 PPP 項目的先決條件。在 PPP模式下,政府與社會投資方以契約作為合作手段,在項目建設及運營成果及目標上達成一致,合作共贏。通過結為合作伙伴,政府部門可以很大程度上緩解地方財政公共基礎設施和公共服務支出的壓力,而社會資本方則通過將社會資本、創新型技術和專業化的管理引入到基礎設施建設和公共服務領域,在獲得一定合理利益的情況下,也為公共事業分擔了責任。
.......................
PPP 模式具有三個顯著特征,分別為伙伴關系、利益共享、風險共擔等。相比起傳統模式下的項目,這些特征讓 PPP 項目更具有吸引力,更有競爭優勢。
(一)伙伴關系
該特征是 PPP 模式的一個非常典型特征,是 PPP 項目的先決條件。在 PPP模式下,政府與社會投資方以契約作為合作手段,在項目建設及運營成果及目標上達成一致,合作共贏。通過結為合作伙伴,政府部門可以很大程度上緩解地方財政公共基礎設施和公共服務支出的壓力,而社會資本方則通過將社會資本、創新型技術和專業化的管理引入到基礎設施建設和公共服務領域,在獲得一定合理利益的情況下,也為公共事業分擔了責任。
.......................
第二節 PPP 模式在我國的發展歷程
相較于發達國家,PPP 模式在我國的發展較為滯后,起步較晚。PPP 模式在中國的發展史簡單可分為三個階段:
相較于發達國家,PPP 模式在我國的發展較為滯后,起步較晚。PPP 模式在中國的發展史簡單可分為三個階段:
一、探索階段
“摸著石頭過河”的探索階段。80 年代中期,一部分發達國家發生了債務危機,繼而促使了“吃螃蟹第一人”的投資者嘗試性地參與到政府公共部門的公共基礎設施建設當中,土耳其最先將 BOT 模式帶入到項目中,隨后其他發達國家相繼效仿其做法,最終于 1984 年,由香港商人將此概念帶入到我國國內,他就是胡應湘。他以香港合和實業有限公司總經理的身份,參與國內公共基礎設施的建設,作為國內第一人提出了興建-管理-移交模式,即 BOT 模式,與深圳市政府合作建設并運營火力發電廠,經過 15 年的特許經營期滿后,1999 年項目成功完成移交給深圳市。但此時的 PPP 項目屬于創新型的承建模式,它的文件內容也很簡單,也沒有制定相應的實施方案。該項目的成功,拉開了 PPP 模式進入中國的序幕,也成為了 PPP 項目的經典案例。不過,該項目也留下了很多值得往后 PPP模式項目的經驗,一是由于該項目是屬于特許經營類 PPP 項目,該項目在移交后,其諸多設施都經過政府重建,變相增加了政府的投資成本,和后期維護的難度。
在這個階段,PPP 的項目是不規范的,其發起雖然是政府,但也只能歸屬于地方政府的個別行為,項目的流程也不規范,僅僅只是通過政府與私人(投資人)的共同協商、談判后,達成合作意向,簽訂合作契約。

................................

................................
第一節 財務風險概述 ................................................. 18
一、財務風險概念 .......................................... 18
二、財務風險基本特征 ...................................... 18
第四章 PPP 模式財務風險評估與控制 ....................... 26
第一節 財務風險量化評估 ...................................... 26
一、構建 PPP 財務評價模型 .......................... 26
二、選取風險影響因素及評價指標 .......................... 28
第五章 A 鎮 Q 項目案例分析 ................................ 37
第一節 項目背景介紹 ........................... 37
一、項目內容、實施方式及產權歸屬 .......................... 37
二、項目融資結構及回報機制 ..................................... 38
第五章 A 鎮 Q 項目案例分析
第一節 項目背景介紹
一、項目內容、實施方式及產權歸屬
(一)項目內容
A 鎮設立的 PPP 項目屬于市政公用事業領域,該項目主要建設和運營的內容有市政路橋建設及維護保養、海綿城市建設及園林綠化種植及維護等。項目由S 市授權 A 鎮全權作為 Q 項目實施機構,并完成項目實施方案的編制工作。實施方案的編制過程中,A 鎮委托第三方中介機構向潛在的社會投資者進行意見征詢。
項目建設及維護內容主要包括:(1)市政基礎設施部分,涵蓋 9 條道路的建設及維護,長度合計 11.2 公里,配套給水管網 12.93 公里,排水管網 34.28 公里,再生水管網 11.02 公里,人行天橋一座,跨河天橋一座。(2)海綿城市基礎設施建設工程:城市道路海綿設施工程 44.67 萬平方米,城市水系海綿設施工程101.99 畝。(3)生態治理工程:河道治理景觀提升 128.89 畝,河堤治理、景觀提升、防洪、泄洪工程 178.99 畝,A 鎮 10.8 畝生態公園建設及維護,15 畝濱河文化公園項目的建設及維護。
第一節 項目背景介紹
一、項目內容、實施方式及產權歸屬
(一)項目內容
A 鎮設立的 PPP 項目屬于市政公用事業領域,該項目主要建設和運營的內容有市政路橋建設及維護保養、海綿城市建設及園林綠化種植及維護等。項目由S 市授權 A 鎮全權作為 Q 項目實施機構,并完成項目實施方案的編制工作。實施方案的編制過程中,A 鎮委托第三方中介機構向潛在的社會投資者進行意見征詢。
項目建設及維護內容主要包括:(1)市政基礎設施部分,涵蓋 9 條道路的建設及維護,長度合計 11.2 公里,配套給水管網 12.93 公里,排水管網 34.28 公里,再生水管網 11.02 公里,人行天橋一座,跨河天橋一座。(2)海綿城市基礎設施建設工程:城市道路海綿設施工程 44.67 萬平方米,城市水系海綿設施工程101.99 畝。(3)生態治理工程:河道治理景觀提升 128.89 畝,河堤治理、景觀提升、防洪、泄洪工程 178.99 畝,A 鎮 10.8 畝生態公園建設及維護,15 畝濱河文化公園項目的建設及維護。
(二)項目實施方式
政府方在實施方案初稿中明確由社會資本方在 S 市設立 SPV 公司,由社會資本全額出資,政府方不占股(實施方案已明確政府方不占股)。項目的實施機構為 A 鎮,同時與 SPV 公司簽訂 PPP 項目合同,并授予 SPV 公司與該項目相關的權利。在政府主導和監督下,由 SPV 公司通過法定方式選擇施工和設備供應商。在合約中明確規定,SPV 公司在運營期內以政府付費方式取得項目運營收入,用以補償經營成本、貸款還本付息、回收投資、應繳稅金,并獲取一定的投資回報。根據項目協議約定的付款要求,SPV 公司定期向政府提交付費申請,相關部門根據考核結果予以批復后,由政府相關部門予以支付;通常,在運營期結束后,SPV 公司將與政府指定部門進行該項目經營權的無償交接工作。
................................
政府方在實施方案初稿中明確由社會資本方在 S 市設立 SPV 公司,由社會資本全額出資,政府方不占股(實施方案已明確政府方不占股)。項目的實施機構為 A 鎮,同時與 SPV 公司簽訂 PPP 項目合同,并授予 SPV 公司與該項目相關的權利。在政府主導和監督下,由 SPV 公司通過法定方式選擇施工和設備供應商。在合約中明確規定,SPV 公司在運營期內以政府付費方式取得項目運營收入,用以補償經營成本、貸款還本付息、回收投資、應繳稅金,并獲取一定的投資回報。根據項目協議約定的付款要求,SPV 公司定期向政府提交付費申請,相關部門根據考核結果予以批復后,由政府相關部門予以支付;通常,在運營期結束后,SPV 公司將與政府指定部門進行該項目經營權的無償交接工作。
................................
第六章 結論與展望
第一節 研究結論
本文基于社會資本方角度通過具體案例對 PPP 項目中的財務風險分析與控制進行了研究,本文的研究結論如下:
政府公共部門和社會資本方作為參與 PPP 項目建設及運營的參與者,它們所面臨的財務風險各不相同,分析模式也彼此存在差異。政府方的財務風險關注財政承受能力風險與物有所值風險,社會資本方的財務風險需統籌全盤考慮,針對 PPP 項目的周期長的特點,將社會資本方從籌資、投資、經營及其他將有可能面臨的財務風險入手,逐一分析。其中籌資財務風險與融資方案和融資成本密切相關,投資風險與項目建成成本控制密切相關,經營風險與可用性服務費收入、運營收入、運營成本以及社會投資人自身財務狀況相關,其他財務風險與政治環境、經濟環境相關。需要分角度、分層次結合具體項目開展風險分析。
構建財務評價模型是社會資本方開展財務風險分析的基礎。社會資本方構建的財務評價模型必須細化精準,構建模型時要遵循謹慎性原則,對某些參數或計算方法有幾種不同的選擇時,應當優先考慮最不利與社會資本方的選擇。構建財務評價模型時涉及的基礎數據分別投資、籌資、收入、成本、稅金和利潤分配 6類,其組成一個完整的數據系統。構建財務評價模型時必須確保數據之間的勾稽關聯正確,為后期開展蒙特卡洛模擬提供條件。
借助計算機技術,在構建出合理有效的財務評價模型后,可以通過軟件實現蒙特卡洛模擬。通過海量的模擬分析計算結果,有效的評價財務風險,進而確定風險控制措施,便于社會資本方通過談判、分包等方式轉移或降低風險。
參考文獻(略)
相關閱讀
暫無數據


